设为首页 | 加入收藏
网站首页
单位概况
  • 单位介绍
  • 机构设置及职能介绍
  • 联系方式
工作信息
  • 综合信息
  • 站内公告
  • 党政工作
  • 精神文明建设互动
  • 法制宣传
  • 财务公开
  • 3.15宣传专栏
  • 主题教育专栏
标准化服务
  • 标准知识
  • 政策法规
  • 技术服务
  • 相关下载
  • 标准化动态
  • 标准实施公告
  • 标准作废公告
  • 国家标准公告
  • 地方标准公告
物品编码
  • 业务办理
  • 工作动态
  • 技术与标准
  • 政策法规
  • 校验码计算工具
技术性贸易措施工作
  • 风险预警
  • 聚焦“四地”建设精准推送
公众参与
您的位置: 首页>标准化服务>国家标准公告

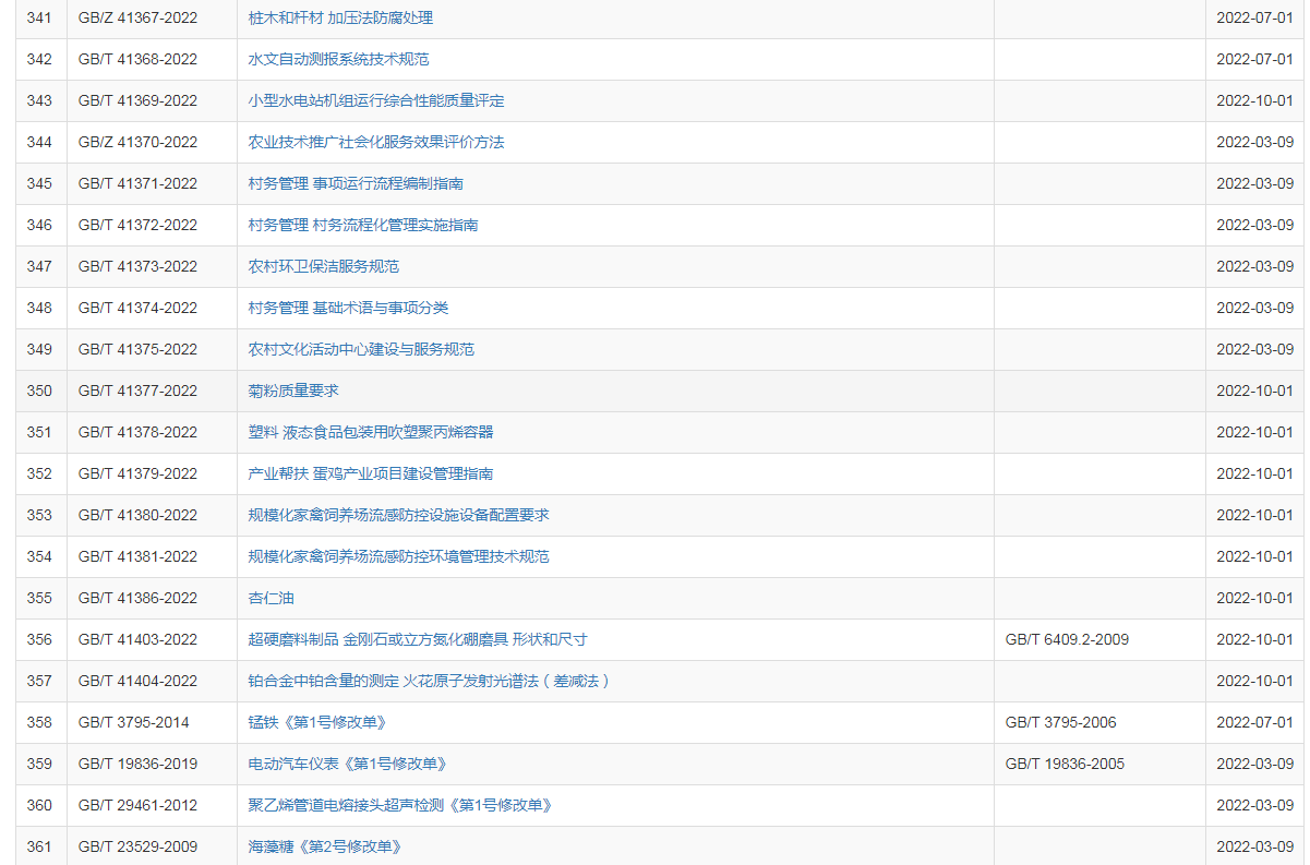
2022年第2号中国国家标准公告

来源:本站 发布时间:2022-03-23 浏览:

上一篇: 2021年第18号中国国家标准公告

下一篇: 2022年第3号中国国家标准公告

版权所有:Copyright © 2012-2017青海省质量和标准研究院 备案号:青ICP备2021000716号-1
电话:0971-6130276 传真: 0971-6130276
技术支持:青海西诚电子科技有限公司